IC-7760
Ricetrasmettitore All Mode HF/50 MHz con tecnologia a campionamento diretto e pannello di controllo separato dall'unità RF munito di doppio display touch screen a colori
IC-7760 è un ricetrasmettitore All Mode HF/50 MHz che opera in USB, LSB, CW, RTTY, PSK31/63, AM, FM con 200Watt di potenza RF e con alimentatore incorporato.

Funzioni
IC-7760 è un ricetrasmettitore All Mode HF/50 MHz che opera in USB, LSB, CW, RTTY, PSK31/63, AM, FM con 200Watt di potenza RF e con alimentatore incorporato.
Tecnologia DPD (Digital Pre-Distorsion)
Corregge la distorsione non lineare all’amplificatore finale applicando in anticipo una distorsione inversa. Si ottiene una trasmissione del segnale pulita anche alla massima potenza di 200 W. La funzione DPD è attiva anche all’uscita da 1 kW in combinazione con IC-PW2
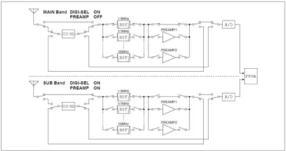
DIGI-SEL insieme a Preamplificatore
Il preamplificatore amplifica prima il segnale desiderato, poi DIGI-SEL (Pre-selettore digitale) previene l’overflow (OVF) che filtra i segnali fuori banda indesiderati. Questa prerogativa del IC-7760 rende possibile il funzionamento del preamplificatore insieme a DIGI-SEL
Totale 15 BPF (filtro passa-banda) separati
Copertura delle bande HF con un BPF a 11 canali separati, inoltre, utilizzando filtri specifici per ciascuna banda amatoriale, il BPF attenua efficacemente i segnali di interferenza fuori banda nello stadio RF e previene l’overflow nel convertitore A/D
Accordatore automatico d’antenna
L’accordatore automatico d’antenna entro contenuto memorizza le impostazioni in base alla frequenza di trasmissione in modo che possa sintonizzarsi rapidamente quando si cambia banda operativa
Doppio ricevitore
Consente di ricevere contemporaneamente due diverse bande e due diverse modalità operative
Display touch screen
Display principale a colori da 7″ e display secondario da 2,4″ entrambi touch screen ad alta risoluzione
Caratteristiche
Nel mondo connesso di oggi, questo nuovo apparato introduce un’innovazione con il pannello di controllo separato dall’unità RF.
L’unità di controllo e il deck RF possono essere connessi tramite Internet o tramite una rete LAN domestica (cablata o Wi-Fi®). Questo concetto aumenta la flessibilità di installazione della stazione, liberando più spazio sulla scrivania grazie al posizionamento del deck RF più vicino al punto di alimentazione dell’antenna. Oltre alla funzione di connessione diretta, è possibile posizionare il deck RF presso la stazione HF remota e gestire un telecomando completo con l’unità di controllo a casa.
Un cavo di controllo (lunghezza 3m.) è fornito con il ricetrasmettitore, mentre un cavo LAN disponibile in commercio può essere utilizzato per installare il deck RF in una posizione più remota.È possibile utilizzare cavi LAN commerciali (Cat5e o superiori), fino a una lunghezza massima di 100 m. Questo consente di collocare il deck RF in un rack o in un’altra posizione lontana dal tavolo della stazione, creando un ambiente di lavoro silenzioso, lontano dal rumore della ventola utilizzata per dissipare il calore generato dal deck RF.
Per prestazioni a bassa latenza paragonabili a una connessione diretta tra il deck RF e il controller, si consiglia la connessione Gigabit Ethernet per la connessione LAN domestica. L’utilizzo di un dispositivo compatibile solo con Fast Ethernet o versioni precedenti potrebbe causare disturbi anomali e il funzionamento non può essere garantito.
È disponibile, come accessorio opzionale, l’unità di controllo RC-7760.
All’unità RF è possibile registrare fino a cinque unità di controllo ma solo una unità di controllo alla volta si collegherà alla radio e potrà essere utilizzata.
L’RC-7760 viene fornita completa di adattatore AC BC-267E.
Questa configurazione consente di posizionare la radio nella propria postazione radio e di utilizzare un’unità di controllo remota completa in una posizione separata. Anche in caso di ritardo o jitter di rete, IC-7760 regola il buffer per garantire una trasmissione del segnale e manipolazione CW precise. È possibile collegare alla porta LAN punti di accesso Wi-Fi® disponibili in commercio per una connessione wireless. La connessione Internet richiede velocità stabili di almeno 10 Mbps tra il deck RF e l’unità di controllo e di almeno 5 Mbps tra l’unità di controllo e l’unità RF. Per l’accesso a Internet è necessaria una connessione VPN o un Port Forwarding con un indirizzo IPv4 statico globale o un DNS dinamico (DDNS). Potrebbero essere applicate restrizioni a seconda della configurazione di rete. Potrebbero verificarsi brevi interruzioni audio a causa della perdita di pacchetti.
Se utilizzato insieme al controller RC-7760 e al software remoto RS-PW2, è possibile gestire da remoto un sistema avanzato composto da un deck RF usato come eccitatore e un amplificatore lineare IC-PW2.

L’IC-7760 è dotato di due ricevitori indipendenti, in modo che una sezione del ricevitore non abbia alcun effetto sull’altra, fornendo così la ricezione simultanea di due segnali in bande/modalità diverse con prestazioni identiche.
Il doppio Spectrum Scope consente la visualizzazione simultanea delle bande MAIN e SUB permettendo all’operatore di monitorare le mutazioni di entrambe le bande.
L’apparato adotta il sistema di campionamento diretto RF, in cui i segnali RF vengono convertiti direttamente in segnali digitali e vengono elaborati da un FPGA (Field Programmable Gate Array). Questo sistema evita distorsioni non lineari che si verificano negli stadi del mixer durante l’elaborazione del segnale analogico.
Inoltre, l’unità DSP impiegata sia nella parte RF che nel pannello di controllo è in grado di gestire la complessa commutazione del percorso audio dovuta a vari ingressi e uscite, riducendo al minimo il ritardo in un ambiente LAN domestico.

Segnaliamo poi il DIGI-SEL (Digital Pre-selector) è altamente efficace nel respingere segnali forti fuori banda come quelli delle stazioni radiofoniche.
Nei modelli convenzionali (come IC-7851 o IC-7610), il circuito DIGI-SEL e posizionato subito dopo l’ingresso RF (antenna) per impedire la distorsione del segnale da interferenze fuori banda.
Anche se il preamplificatore era acceso, la quantità di rumore (sensibilità del ricevitore) non poteva essere migliorata, poiché DIGI-SEL aveva una perdita di inserzione dovuta alla sua stretta larghezza di banda.
Nell’IC-7760, che utilizza è un sistema di campionamento diretto, il DIGI-SEL impedisce l’overflow (OVF) dovuto a segnali fuori banda indesiderati piuttosto che alla distorsione del segnale, e il preamplificatore utilizza il convertitore A/D per sfruttare appieno la sua gamma dinamica.
Quando il preamplificatore è acceso nell’IC-7760, il preamplificatore migliora prima il segnale previsto, quindi DIGI-SEL filtra i segnali fuori banda indesiderati. Ciò rende possibile il funzionamento del preamplificatore insieme a DIGI-SEL.
Questo apparato utilizza 15 filtri passa-banda (BPF) separati nelle bande HF che attenuano in maniera efficace ogni interferenza fuori banda e impediscono l’overflow nel convertitore A/D.
L’IC-7760 si contraddistingue per i due display touch screen a colori ad alta risoluzione.
Nel display principale da 7″ sono mostrate le principali informazioni necessarie per il funzionamento, dell’apparato tra cui le frequenze operative MAIN/SUB, lo stato di impostazione/funzionamento di ciascuna funzione, nonché il doppio Spectrum Scope, l’S-meter e i messaggi di decodifica RTTY/PSK31/63.
Nel display secondario da 2,4″ invece sono presenti le impostazioni del filtro, vari misuratori e un registro di impilamento delle bande.
La schermata di “impostazione del filtro” può visualizzare la larghezza di banda passante del filtro IF e la forma del filtro IF sovrapposte al segnale di banda passante del filtro IF.
L’apparato è dotato di doppi altoparlanti che separano l’audio MAIN/SUB rispettivamente negli altoparlanti sinistro e destro, migliorando così sensibilmente l’audio durante il funzionamento Dualwatch.
L’audio MAIN/SUB può essere impostato per l’uscita stereo o mono da entrambi gli altoparlanti.
Grazie ai comandi presenti sullo schermo, sarà possibile impostare le varie funzioni con semplicità e precisione.
Inoltre, l’utilizzo della manopola multifunzione, in combinazione con il display touch screen facilita ulteriormente qualsiasi operazione di ricerca ed impostazione.

Questo nuovo apparato dispone della funzione DPD (Digital Pre-Distortion) che consente di ottenere una trasmissione del segnale pulita, fornendo contemporaneamente 200 W di potenza RF di uscita.
Si tratta di un metodo che prevede l’immissione di un segnale di correzione per ridurre la componente di distorsione in uscita causata dalle caratteristiche non lineari degli amplificatori. Soprattutto negli amplificatori di potenza, dove le caratteristiche non lineari hanno un impatto significativo, le caratteristiche non lineari di ingresso/uscita vengono analizzate e apprese all’interno dell’IC-7760, generando e immettendo segnali di correzione per migliorare le caratteristiche di distorsione.Il DPD funziona anche all’uscita da 1 kW in combinazione con il PW-2 (per l’uso con IC-PW2 è necessario il cavo di feedback DPD OPC-2501).

L’IC-7760 utilizza un LDMOS-FET da 450 W e 65 V nella sezione PA, combinato con un grande dissipatore di calore e un efficace sistema di raffreddamento per ottenere un ottimo funzionamento a piena potenza 200 W (200 W e 1 ora di trasmissione continua con ingresso 100 V CA a temperatura ambiente 25 ℃).
È inoltre possibile il funzionamento continuo in modalità FT8.
La modulazione e la conversione di frequenza vengono eseguite tramite elaborazione del segnale digitale, il convertitore D/A emette direttamente la frequenza di trasmissione, ottenendo il C/N di trasmissione più puro.
Utilizzando dispositivi FET da 450 W in uscita da 200 W, il PA ottiene eccellenti caratteristiche IMD.

L’accordatore automatico d’antenna incorporato è di tipo relè meccanico come novità per i nostri modelli da 200 W.
Fornisce una sintonizzazione più rapida rispetto al tipo convenzionale a condensatore variabile.
Una volta sintonizzato, le informazioni di abbinamento vengono automaticamente richiamate la volta successiva che si seleziona la frequenza, facilitando cambi di banda fluidi e funzionamento multi-banda.Tra le altre caratteristiche principali segnaliamo il controllo remoto via IP tramite il software opzionale RS-BA1, uno slot per scheda microSD per la memorizzazione dei dati, un convertitore DVI-D grazie al quale e possibile visualizzare su un monitor esterno le varie informazioni, porta USB per il collegamento opzionale dell’ RC-28, tastiera, mouse e unità flash USB, funzione salvaschermo, sintonizzazione automatica CW, doppio preamplificatore, controllo della potenza in tutte le modalità, 50 toni CTCSS, funzione di limite di potenza di trasmissione per ogni banda e tanto altro ancora.

L’IC-7760 è senza dubbio un apparato dalla linea innovativa, performante e dalle grandi prestazioni.
Specifiche
- Gamma frequenza (MHz) Tx 0,1357 – 0,1378 MHz / 1,810 – 1,999 MHz / 3,500 – 3,800 MHz / 7,000 – 7,200 MHz / 10,100 – 10,150 MHz / 14,000 – 14,350 MHz / 18,068 – 18,168 MHz / 21,000 – 21,450 MHz / 24,890 – 24,990 MHz / 28,000 – 29,700 MHz, 50,000 – 52,000 MHz
- Gamma frequenza (MHz) Rx: 0,030 – 60,00 MHz (garantito 0,500 – 29,999 MHz e 50,000 – 54,000 MHz)
- Modi operativi: USB, LSB, CW, RTTY, PSK31/63, AM, FM
- Numero memorie: 101 (99 regolari + 2 per scansioni)
- Connettori antenna: 4 SO-239 (50Ω sbilanciato Tunner off), 1 BNC (ingresso/uscita antenna RX)
- Alimentazione:
- Unità RF 90 ~ 264V CA
- Pannello di controllo 15V CC ±0,75V (con BC-267E)
- Temperatura operativa: 0 °C + 50 °C
- Dimensioni (L × A × P):
- Unità RF 425 x 149 x 442 mm
- Pannello di controllo 340 × 118 × 103,5 mm
- Peso (circa):
- Unità RF 15,8 Kg
- Pannello di controllo 2,3 Kg
- Potenza di trasmissione (SSB/CW/FM/RTTY/PSK): 1-200 W (HF/50 MHz)
- Potenza di trasmissione (AM): 0,25-50 W (HF/50 MHz)
- Uscita audio (10% dist. 8Ω di carico): >2,0 W
- Doppio Display touch screen LCD TFT a colori ad alta risoluzione:
- 7″ display principale
- 2,4″ display secondario
- Funzione screen saver
- Funzione Dual watch
- Sintonizzazione automatica in CW
- Filtro audio Twin Peak per la modalità RTTY
- Possibilità di collegare 2 altoparlanti esterni
- Uscita video DVI-D
- 50 toni CTCSS
- Controllo del pitch CW da 300 Hz a 900 Hz (passo 5 Hz)
- Funzione APF (Audio Peak Filter) forma del filtro regolabile, larghezza e livello AF
- Codificatore e decodificatore RTTY/PSK
Dotazione
- Pannello di controllo
- Cavo di alimentazione
- Adattatore AC BC-267E
- Manuale d’uso
- Cavo Ethernet da 3,0 m
- Staffa di supporto da base MBF-7760C
- Connettori vari
Accessori opzionali
- HM-219 Microfono da palmo
- SM-30 Microfono da base
- SM-50 Microfono da base con tasti UP/DOWN
- SP-33 Altoparlante esterno
- SP-41 Altoparlante esterno con filtri audio
- BC-267E Adattatore AC di ricambio
- AH-730 Accordatore automatico d’antenna da outdoor 1,8-50 MHz
- RC-28 Encoder remoto completo di cavo USB
- RS-BA1 Software per il controllo remoto
- OPC-2501 Cavo di feedback DPD da 3 m consente di collegare l’IC-7760 all’IC-PW2









